电影在线观看,女人下身裸体全照,51免费看片,成人区色情综合小说,免费观看短视频的APP软件

購物車中還沒有商品,趕緊選購吧!

平臺收入

發布日期:2019-11-28 閱讀:2697

平臺收入:此功能主要用于財務管理員 針對平臺的所有訂單核賬 的功能。支持表格導出。

  1. 需要安裝平臺財務管理應用,安裝后,后臺財務管理才會顯示。

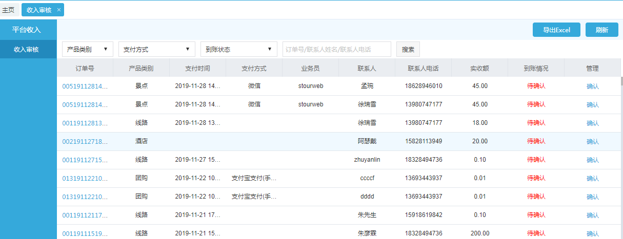
    后臺所有應用,待消費的訂單,都會顯示在此處,注意:(包含游客付款之后,再退款的訂單)


    image.png

  2. 財務管理員查賬之后,確認到賬之后,在此處,確認到賬即可。

    image.png

    image.png

    image.png

3.支持表格導出,根據不同產品類型和不同支付方式,

image.png



以上內容是否對您有幫助? 您的反饋信息提交成功,謝謝您的反饋!

會員評論

在線客服
微信咨詢
微信咨詢
現在咨詢,獲取演示賬號
企業logo小米
立即掃碼加我微信
電話咨詢
咨詢電話
028-61558715
預約演示