电影在线观看,女人下身裸体全照,51免费看片,成人区色情综合小说,免费观看短视频的APP软件

購物車中還沒有商品,趕緊選購吧!

關于自定義模板的相關資料

發布日期:2015-11-24 閱讀:9034

思途CMS系統是支持自定義模板的,如果您要二次開發,建議在適用于我們的規則下制作模板并上傳,請一定不要在源文件上做調整,因為我們每周四會有以覆蓋形式發布的更新包。

一、模板制作請參考:

1、思途CMS自定義模板開發://meihua-al.cn/help/two-show/114.html

2、思途CMS模板語法說明://meihua-al.cn/help/two-show/87.html

3、思途CMS自定義標簽開發://meihua-al.cn/help/two-show/115.html 

4、思途CMS二次開發目錄結構://meihua-al.cn/help/show/440.html

5、模板二次開發打包規則和上傳教程://meihua-al.cn/help/two-show/122.html

二、模板上傳請參考(以pc版為例):

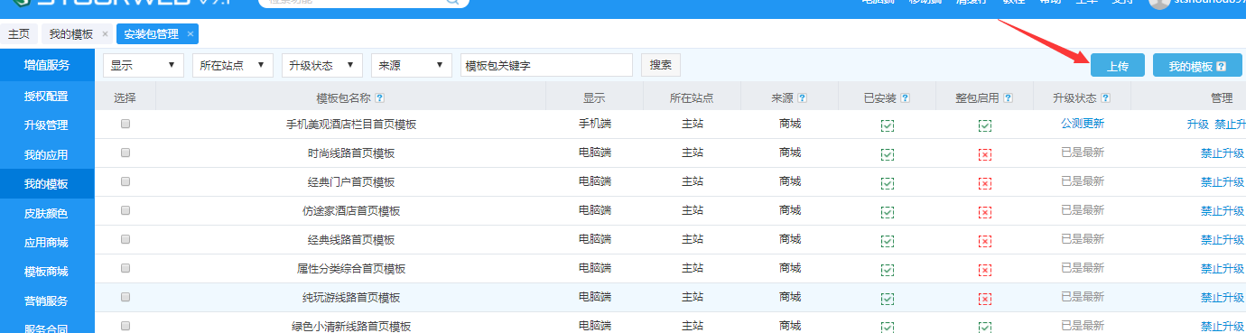
系統后臺》增值服務》我的模板》安裝包管理

image.png

點擊右上角安裝包管理

image.png


進入新頁面,點擊右上角中的“上傳”按鈕

image.png

點擊“上傳”按鈕后會彈出截圖中的彈框,彈框彈出后請根據彈框內容上傳自定義的模板:

注:模板上傳文件需根據思途官網教程進行操作,//meihua-al.cn/help/two-show/122.html您也可以點擊截圖彈框中的小問號查看具體內容和注意事項。

image.png


注:如想修改系統中上傳的模板文件,需訪問網站原文件修改,后臺不提供代碼修改。


模板切換教程://meihua-al.cn/help/show/490.html

以上內容是否對您有幫助? 您的反饋信息提交成功,謝謝您的反饋!

會員評論

在線客服
微信咨詢
微信咨詢
現在咨詢,獲取演示賬號
企業logo小米
立即掃碼加我微信
電話咨詢
咨詢電話
028-61558715
預約演示